最新資訊

紫外線吸光式臭氧傳感器原理
2014-10-10 來源:正航儀器 作者:正航網絡 閱讀:次
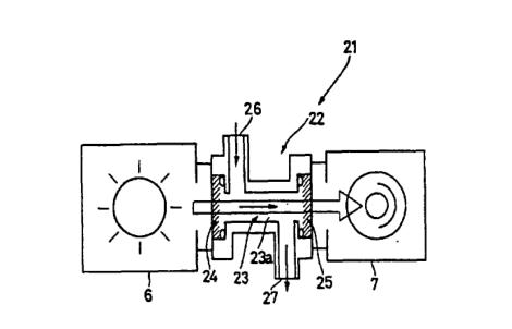
舉措隔開空間的對置壁由透光板24、25形成,此外,還設置容器22,紫外線燈6和紫外線傳感器7。容器22制備氣體入口和出口的氣流通道。紫外線燈6設置在容器一方的透光板外側。紫外線傳感器7用于測量透過容器的紫外線光量。

取樣氣體和參考氣體交替流入容器22,按照氣體流通時紫外線傳感器的信號來測定取樣氣體中的臭氧濃度,在此傳感器中使容器22的氣流通道23的入口26和出口27,分別設置在一方透光板24近旁及另一方透過板25近旁,錯開相互對置的位置,并且自入口26至出目27的氣流通道23,其斷面基本固定。效果通過改良容器形狀,短時問就能更換取樣氣體和參考氣體,其結果就能提高臭氧濃度的測量精度。http://m.lmah.org.cn
上一篇:
耐淋雨試驗系統結構簡述
下一篇:
封閉式熱泵干燥裝置存在問題及優化措施